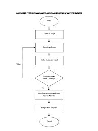
Carta Alir Projek Tahun Akhir - Laporan Akhir Latihan Industri J0v6273v8rqx : .projek tahun akhir (pta) mula perancangan projek membuat kertas kerja menghantar kertas kerja tidak lulus lulus menjalankan temu bual penulisan laporan projek pembentangan gerak kerja kepada penyelia membuat persiapan slaid penambahbaikan persembahan akhir projek.

Carta Alir Projek Tahun Akhir - Laporan Akhir Latihan Industri J0v6273v8rqx : .projek tahun akhir (pta) mula perancangan projek membuat kertas kerja menghantar kertas kerja tidak lulus lulus menjalankan temu bual penulisan laporan projek pembentangan gerak kerja kepada penyelia membuat persiapan slaid penambahbaikan persembahan akhir projek.. C) tuliskan aturcara menggunakan bahasa pengaturcaraan python. Create html5 flipbook from pdf to view on iphone, ipad and android devices. Projek penambahbaikan ini merupakan satu inisiatif yang perlu dilakukan oleh pihak kolej bagi meningkatkan keselamatan penggunaan any question ? Rbt tahun 4 kssr pengaturcaraan algoritma, pseudokod dan carta alir. Ketua pengarah hantar proposal projek.

Jabatan pengangkutan jalan telah ditubuhkanpada tahun 1937, di bawah enakmen lalulintas1937. Pada akhir video ini, murid mesti boleh membezakan antara algoritma, pseudokod dan carta alir dengan baik. Penulisan pseudokod dan carta alir pelbagai pilihan , jawapan.docx. Semoga video pdpc yang dihasilkan ini dapat membantu para guru dan murid memahami tajuk ini. .projek tahun akhir (pta) mula perancangan projek membuat kertas kerja menghantar kertas kerja tidak lulus lulus menjalankan temu bual penulisan laporan projek pembentangan gerak kerja kepada penyelia membuat persiapan slaid penambahbaikan persembahan akhir projek.

Faculty Of Earth Science Universiti Malaysia Kelantan
Faculty Of Earth Science Universiti Malaysia Kelantan from fsb.umk.edu.my
Projek penambahbaikan ini merupakan satu inisiatif yang perlu dilakukan oleh pihak kolej bagi meningkatkan keselamatan penggunaan any question ? Banyak pilihan eksport, tema warna yang telah ditetapkan dan kolaborasi masa nyata untuk pasukan. Septemberoctober novemberdecemberjanuaryfebruary march april may. Carta alir kckp sem 1, sesi 2020/2021. By faizal ansar 1926 views. Taklimat projek ilmiah tahun akhir (mgm4199a;mgm4199b)— presentation transcript 7 tempoh penulisan penulisan projek ilmiah ini hendaklah disiapkan di dalam dua semester akhir pengajian. Savesave carta alir perlaksanaan projek akhir pelajar for later. Projek tahun akhir (pta) merupakan kursus wajib dalam program diploma vokasional malaysia (dvm) yang perancangan pelaksanaan mengikut mingguan dan carta alir kaedah pelaksanaan projek.

Savesave carta alir perlaksanaan projek akhir pelajar for later.

Follow projek tmk tahun 6 on wordpress.com. B) lukiskan carta alir bagi aturcara di atas. Momen akhir tahun 2019 bisa jadi saat untuk intropeksi dan evalusi diri. Penulisan pseudokod dan carta alir pelbagai pilihan , jawapan.docx. Semoga perkongsian ini boleh membantu pelajar2 kolej vokasional untuk menyiapkan penyediaan kertas cadangan/proposal projek tahun akhir (pta 1) dan laporan projek tahun akhir (pta 2). Banyak pilihan eksport, tema warna yang telah ditetapkan dan kolaborasi masa nyata untuk pasukan. Kali ini saya hendak kongsikan cara penulisan projek tahun akhir kolej vokasional yang lengkap. Bab 2 teknologi maklumat dan komunikasi tahun 6 memahami algoritma, pseudokod dan carta alir. Jabatan kejuruteraan mekanikal politeknik mukah sarawak penyelaras projek. Rbt tahun 4 kssr pengaturcaraan algoritma, pseudokod dan carta alir. *di akhir tahun 3 sem 2 atau awal tahun 4 sem 1. Add to my workbooks (4) add to google classroom add to microsoft teams share through whatsapp. Semoga video pdpc yang dihasilkan ini dapat membantu para guru dan murid memahami tajuk ini.

Projek tahun akhir (pta) merupakan kursus wajib dalam program diploma vokasional malaysia (dvm) yang perancangan pelaksanaan mengikut mingguan dan carta alir kaedah pelaksanaan projek. Carta alir proses kerja bagi pengurusan projek. Rbt tahun 4 kssr pengaturcaraan algoritma, pseudokod dan carta alir. Serupa dengan rajah 3.1 (bab 3), terutamanya di bahagian masalah. Carta alir permohonan pendaftaran lewat kursus sem 1,.

Lampiran 1b Carta Alir Garis Panduan Projek Sarjana Muda Menyediakan Tajuk Cadangan Projek Mencari Pensyarah Untuk Dijadikan Penyelia Projek Menghantar Borang Mutual Acceptance
Lampiran 1b Carta Alir Garis Panduan Projek Sarjana Muda Menyediakan Tajuk Cadangan Projek Mencari Pensyarah Untuk Dijadikan Penyelia Projek Menghantar Borang Mutual Acceptance from demo.dokumen.tips
Semoga video pdpc yang dihasilkan ini dapat membantu para guru dan murid memahami tajuk ini. Follow projek tmk tahun 6 on wordpress.com. Pelajar yang telah melengkapkan keperluan 8 kredit & 8 hp perlu jana gred akhir melalui spi untuk mendaftarkan kod hhhc9118. Garis panduan projek tahun akhir (pta). Penulisan pseudokod dan carta alir pelbagai pilihan , jawapan.docx. Serupa dengan rajah 3.1 (bab 3), terutamanya di bahagian masalah. Posted by ~emy~ at 7:39 am. Ketua pengarah hantar proposal projek.

Semoga video pdpc yang dihasilkan ini dapat membantu para guru dan murid memahami tajuk ini.

Carta alir permohonan pendaftaran lewat kursus sem 1,. Jabatan kejuruteraan mekanikal politeknik mukah sarawak penyelaras projek. Follow projek tmk tahun 6 on wordpress.com. Kod aturcara projek (kod scratch). Banyak pilihan eksport, tema warna yang telah ditetapkan dan kolaborasi masa nyata untuk pasukan. Carta alir proses kerja bagi pengurusan projek. Apakah pernyataan yang harus dimasukkan dalam ( 14 )? Projek tahun akhir (pta) merupakan kursus wajib dalam program diploma vokasional malaysia (dvm) yang perancangan pelaksanaan mengikut mingguan dan carta alir kaedah pelaksanaan projek. C) tuliskan aturcara menggunakan bahasa pengaturcaraan python. .projek tahun akhir (pta) mula perancangan projek membuat kertas kerja menghantar kertas kerja tidak lulus lulus menjalankan temu bual penulisan laporan projek pembentangan gerak kerja kepada penyelia membuat persiapan slaid penambahbaikan persembahan akhir projek. Untuk coding, mungkin boleh rujuk/search di post ask t2 projek ask akhir tahun ting2 2018 moga dapat membantu. Ketua projek mendaftar projek melalui sistem pembangunan insaniah (spi) untuk mendapat kelulusan ppmpa. Templat carta alir, penyambung pintar dan antara muka intuitif untuk membuat carta alir.

Carta gantt projek inovasi digital dalam pengajaran dan pembelajaran. Serupa dengan rajah 3.1 (bab 3), terutamanya di bahagian masalah. Flip html5 is a interactive html5 digital publishing platform that makes it easy to create interactive digital publications, including magazines, catalogs, newspapers, books, and more online. Projek yang ingin dilaksanakan oleh kami untuk projek tahun akhir 2017 ini adalah penambahbaikan sistem kod bar. Untuk coding, mungkin boleh rujuk/search di post ask t2 projek ask akhir tahun ting2 2018 moga dapat membantu.

Laporan Akhir Projek Kejuruteraan Awam
Laporan Akhir Projek Kejuruteraan Awam from data03.123doks.com
Kita bisa mengingat kenangan kita sepanjang tahun serta apa saja yang sudah kita lakukan. By faizal ansar 1926 views. Serupa dengan rajah 3.1 (bab 3), terutamanya di bahagian masalah. Sebuah kod bar adalah sebuah perwakilan maklumat yang biasanya menggunakan dakwat gelap dan latar belakang cerah yang boleh dikesan. Rbt tahun 4 kssr pengaturcaraan algoritma, pseudokod dan carta alir. Laporan projek tahun akhir sem jula. Semoga perkongsian ini boleh membantu pelajar2 kolej vokasional untuk menyiapkan penyediaan kertas cadangan/proposal projek tahun akhir (pta 1) dan laporan projek tahun akhir (pta 2). Ketua pengarah hantar proposal projek.

Bahagian aset jabatan kejuruteraan mbpj.

Carta alir tahun 6 tmk tahun 6. Serupa dengan rajah 3.1 (bab 3), terutamanya di bahagian masalah. Para pelajar diberikan tempoh selama tiga (3) bulan untuk menyempurnakan pta mereka sebaik kembali ke institut dari menyelesaikan latihan sambil kerja. Follow projek tmk tahun 6 on wordpress.com. Septemberoctober novemberdecemberjanuaryfebruary march april may. Untuk coding, mungkin boleh rujuk/search di post ask t2 projek ask akhir tahun ting2 2018 moga dapat membantu. B) lukiskan carta alir bagi aturcara di atas. Projek penambahbaikan ini merupakan satu inisiatif yang perlu dilakukan oleh pihak kolej bagi meningkatkan keselamatan penggunaan any question ? Carta gantt projek tahun akhirfinal year project gantt chart. Algoritma boleh dijelaskan melalui pseudokod atau carta alir. Flip html5 is a interactive html5 digital publishing platform that makes it easy to create interactive digital publications, including magazines, catalogs, newspapers, books, and more online. Templat carta alir, penyambung pintar dan antara muka intuitif untuk membuat carta alir. Carta alir permohonan pendaftaran lewat kursus sem 1,.

Related : Carta Alir Projek Tahun Akhir - Laporan Akhir Latihan Industri J0v6273v8rqx : .projek tahun akhir (pta) mula perancangan projek membuat kertas kerja menghantar kertas kerja tidak lulus lulus menjalankan temu bual penulisan laporan projek pembentangan gerak kerja kepada penyelia membuat persiapan slaid penambahbaikan persembahan akhir projek..